Arduino Uno Dimensions : Arduino Hole Dimensions Drawing Adafruit Industries Makers Hackers Artists Designers And Engineers : Arduino ide (integrated development environment) is required to program the arduino uno board.

Arduino Uno Dimensions : Arduino Hole Dimensions Drawing Adafruit Industries Makers Hackers Artists Designers And Engineers : Arduino ide (integrated development environment) is required to program the arduino uno board.. I have found the overall dimensions of the arduino uno board, but can someone tell me the hole pattern and spacing? Suggest corrections and new documentation via github. If this is your first experience tinkering with the platform, the uno is the most robust board you can start playing with. On the opposite side of the spectrum, the arduino mega 2560 board dimensions are about 4 x 2.1, making it about 6x bigger than the micro in terms of area size. The board has 14 digital i/o pins (six capable of pwm output), 6 analog i/o pins, and is programmable.

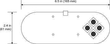
I have found the overall dimensions of the arduino uno board, but can someone tell me the hole pattern and spacing? I found this handy diagram online and though i would share it with everyone. The drawing has dimensions for both the regular arduino and the arduino mega, and the hole pattern is good for all arduinos going back to the ng (though the diameter of the holes might be different). 2012/10/17 8:00 am / 3 comments / bertus kruger. This arduino uno r3 ch340 is part of the arduino range, which is a series of development platforms designed to help makers, hobbyists and students learn about electronics and the wiring/processing language with which machines

File 3v Dc Motor Connected To An Arduino Uno And Motor Shield Jpg Wikimedia Commons
File 3v Dc Motor Connected To An Arduino Uno And Motor Shield Jpg Wikimedia Commons from upload.wikimedia.org
Arduino uno and mega dimensions. It has 14 digital input/output pins (of which 6 can be used as pwm outputs), 6 analog inputs, a 16 mhz ceramic resonator, a usb connection, a power jack, an icsp header, and a reset button. It contains everything needed to support the microcontroller; This arduino uno r3 ch340 is part of the arduino range, which is a series of development platforms designed to help makers, hobbyists and students learn about electronics and the wiring/processing language with which machines Arduino uno is a microcontroller board based on the atmega328p.it has 14 digital input/output pins (of which 6 can be used as pwm outputs), 6 analog inputs, a 16 mhz ceramic resonator, a usb connection, a power jack, an icsp header and a reset button. Free shipping on qualified orders. I do not have the board in hand yet, and am trying to design a mount for it on my project. The board is equipped with sets of digital and analog input/output (i/o) pins that may be interfaced to various expansion boards (shields) and other circuits.

The older arduino models with usb used an ftdi interface chip (the ft232rl), an atmega8 (uno), or an atmega16u2 (mega2560 and uno r3).

Arduino/genuino uno is a microcontroller board based on the atmega328p ().it has 14 digital input/output pins (of which 6 can be used as pwm outputs), 6 analog inputs, a 16 mhz quartz crystal, a usb connection, a power jack, an icsp header and a reset button. Otherwise and as always with my models, it's probably useful to suppress the extraneous detail if it's not needed. The new uno boards added a fourth mounting hole, which is indicated. Arduino fixed the location of the icsp header on the uno layout to match the location on the mega (2505x 1200). Find anything that can be improved? It has 14 digital input/output pins (of which 6 can be used as pwm outputs), 6 analog inputs, a 16 mhz quartz crystal, a usb connection, a power jack, an icsp header and a reset button. The uno is the most used and documented board of the whole arduino In the uno, uno r3, and mega2560 the additional small atmega processors are preprogrammed to serve as a usb interface. A000066 the uno is the best board to get started with electronics and coding. Free shipping on qualified orders. Recently i was busy building a nice case for an arduino and i needed the dimensions to make the correct mounting holes. After doing a quick search, i was unable to find an accurate technical drawing of the new arduino uno and arduino mega 2560. Suggest corrections and new documentation via github.

Arduino fixed the location of the icsp header on the uno layout to match the location on the mega (2505x 1200). Not guaranteed to be correct until verified by building a pcb and physically checking against existing shields and duemilanoves. The board is equipped with sets of digital and analog input/output (i/o) pins that may be interfaced to various expansion boards (shields) and other circuits. Arduino duemilanove pcb dimensions drawn by rob gray, based on measurements by mowcius and cjands40 and observations by rob gray. The board has 14 digital i/o pins (six capable of pwm output), 6 analog i/o pins, and is programmable.

Dimensions Of Uno Project Guidance Arduino Forum
Dimensions Of Uno Project Guidance Arduino Forum from aws1.discourse-cdn.com
It has 14 digital input/output pins (of which 6 can be used as pwm outputs), 6 analog inputs, a 16 mhz quartz crystal, a usb connection, a power jack, an icsp header and a reset button. Arduino uno and mega dimensions. Arduino uno dimensions of 2.7 x 2.1 fall somewhere in between the micro and the mega 2560. Arduino duemilanove pcb dimensions drawn by rob gray, based on measurements by mowcius and cjands40 and observations by rob gray. Doubts on how to use github? Otherwise and as always with my models, it's probably useful to suppress the extraneous detail if it's not needed. Arduino uno is a microcontroller board based on the atmega328p.it has 14 digital input/output pins (of which 6 can be used as pwm outputs), 6 analog inputs, a 16 mhz ceramic resonator, a usb connection, a power jack, an icsp header and a reset button. After doing a quick search, i was unable to find an accurate technical drawing of the new arduino uno and arduino mega 2560.

It has 14 digital input/output pins (of which 6 can be used as pwm outputs), 6 analog inputs, a 16 mhz ceramic resonator, a usb connection, a power jack, an icsp header, and a reset button.

The uno is the most used and documented board of the whole arduino It has 14 digital input/output pins (of which 6 can be used as pwm outputs), 6 analog inputs, a 16 mhz quartz crystal, a usb connection, a power jack, an icsp header and a reset button. Arduino duemilanove pcb dimensions drawn by rob gray, based on measurements by mowcius and cjands40 and observations by rob gray. Using the pcb design files available at the arduino hardware website, i created a detailed technical drawing of both the uno and mega 2560. The arduino uno is a microcontroller board based on the atmega328 (datasheet). The arduino software includes a wire library to simplify use of the i2c bus. Find anything that can be improved? Free shipping on qualified orders. Not guaranteed to be correct until verified by building a pcb and physically checking against existing shields and duemilanoves. An arduino uno, rev 3 in solidworks dimensions taken directly from product data sheets and the eagle files for the uno reference design, so the model ought to be accurate. Arduino uno is a microcontroller board based on the atmega328p.it has 14 digital input/output pins (of which 6 can be used as pwm outputs), 6 analog inputs, a 16 mhz ceramic resonator, a usb connection, a power jack, an icsp header and a reset button. Suggest corrections and new documentation via github. I have found the overall dimensions of the arduino uno board, but can someone tell me the hole pattern and spacing?

On the opposite side of the spectrum, the arduino mega 2560 board dimensions are about 4 x 2.1, making it about 6x bigger than the micro in terms of area size. It contains everything needed to support the microcontroller; I do not have the board in hand yet, and am trying to design a mount for it on my project. Physical dimensions of arduino uno. When atmega328 chip is used in place of arduino uno, or vice versa, the image below shows the pin mapping between the two.

Introduction To Arduino Mega 2560 The Engineering Projects
Introduction To Arduino Mega 2560 The Engineering Projects from www.theengineeringprojects.com
Arduino uno dimensions of 2.7 x 2.1 fall somewhere in between the micro and the mega 2560. Recently i was busy building a nice case for an arduino and i needed the dimensions to make the correct mounting holes. An arduino uno, rev 3 in solidworks dimensions taken directly from product data sheets and the eagle files for the uno reference design, so the model ought to be accurate. Physical dimensions of arduino uno. The drawing has dimensions for both the regular arduino and the arduino mega, and the hole pattern is good for all arduinos going back to the ng (though the diameter of the holes might be different). I do not have the board in hand yet, and am trying to design a mount for it on my project. The new uno boards added a fourth mounting hole, which is indicated. Arduino uno to atmega328 pin mapping.

Arduino uno is a microcontroller board based on the atmega328p (datasheet).

Arduino uno and mega dimensions. An arduino uno, rev 3 in solidworks supplied as an assembly and a part for convenience dimensions taken directly from product data sheets and the eagle files for the uno reference design from the website, so the model really ought to be accurate. Arduino ide (integrated development environment) is required to program the arduino uno board. It has 14 digital input/output pins (of which 6 can be used as pwm outputs), 6 analog inputs, a 16 mhz ceramic resonator, a usb connection, a power jack, an icsp header, and a reset button. It contains everything needed to support the microcontroller; This arduino uno r3 ch340 is part of the arduino range, which is a series of development platforms designed to help makers, hobbyists and students learn about electronics and the wiring/processing language with which machines I have found the overall dimensions of the arduino uno board, but can someone tell me the hole pattern and spacing? Not guaranteed to be correct until verified by building a pcb and physically checking against existing shields and duemilanoves. Simply connect it to a computer with a usb. Buy arduino uno atmega328p at amazon. It has 20 digital input/output pins (of which 6 can be used as pwm outputs and 6 can be used as analog inputs). In the uno, uno r3, and mega2560 the additional small atmega processors are preprogrammed to serve as a usb interface. The older arduino models with usb used an ftdi interface chip (the ft232rl), an atmega8 (uno), or an atmega16u2 (mega2560 and uno r3).

Not guaranteed to be correct until verified by building a pcb and physically checking against existing shields and duemilanoves arduino uno. I found this handy diagram online and though i would share it with everyone.

Komentar